数控车床国际象棋图纸(数控车床国际象棋,如何用机械工艺玩转智慧游戏)
1、奖杯

程序:
o0001;
g99g97g40;
t0101;
m03s800;
g00z2.0;
x38.0;
g73u17r8;
g73p1q2u0.5w0.0f0.3;
n1g01x1.32f0.1;
z0.0;
x8.64z-10.99;
g02x7.91z-14.39r2.35f0.1;
g03x18.53z-16.58r5.06f0.1;
x30.98z-19.95r8.04;
x33.31z-22.23r1.62;
g02x32.41z-24.11r2.96;
g03x16.37z-54.96r46.42;
g02x17.29z-57.44r1.55;
g03x17.13z-64.32r4;
g02x14.49z-71.95r29.59;
x11.24z-77.9r18.02;
g03x19.24z-91.06r72.07;
g01x27.09;
g03x29.67z-96.78r7.19;
x33.81z-97.61r1.27;
g01x33.81z-105.36;
n2x38.0;
g70p1q2;
g00x100.0;
z100.0;
m05;
m30;
2、葫芦

程序:
o0001
g99g97g40
m03s500
t0101
g00 z2.0
x52.0
g73 u25 r12
g73 p1 q2 u1.5 w0.5 f0.3
n1 g01 x0.0 f0.1
z0.0
g03 x5.86 z-9.38 r5.15 f0.1
g02 x25.02 z-32.57 r28.57
g03 x27.34z-49.4 r10.08
g03 x32.66 z-72.12r12.06
n2 g01 x52.0
g70 p1 q2
g00 x100.0
z100.0
m05
m30
3、椭圆(宏程序)

程序:
o0001
g99g97g40
t0101
m03s500
g00z2.0
x52.0
g01x0.0 f0.1
2=20
4=-24
n10 2*sqrt
g01 x
3-0.1
if goto10
g01 z-60.0
x38.0
x42.0 z-62.0
x52.0
g00 x100.0
z100.0
m05
m30
4、子弹

程序:
o0002
g99g97g40
t0101
m03s500
g00 z2.0
x52.0
g71 u2.0 w0.5
g71 p1 q2 u1.0 w0.0 f0.3
n1 g01 x0.0 f0.1
z0.0
g03 x7.87 z-17.3 r40.0
g01 x8.57
z-23.0
g01 x10.07 z-25.5
x11.35 z-52.8
g02 x11.35 z-54.5 r1.5
g01 z-56.0
n2 x52.0
g70 p1 q2
g00 x100.0
z100.0
m05
m30
5、锤头

程序:
o0001
g99g97g40
t0101
m03s500
g00z2.0
x22.0
g73u18r17
g73p1q2u0.5w0.0f0.1
n1g01x0.0f0.1
z0.0
g03x2.0z-1.0r1.0f0.3
g01x14.0z-39.0f0.1
g03x14.0z-54.0r10.0f0.3
g02x16.0z-58.0r3.0f0.3
g01x14.0z-78.0
n2x22.0
m00
t0101
m03s800
g00z2.0
x22.0
g70p1q2
g00x100.0
z100.0
m05
n30
6、酒杯

程序:
酒杯外圆:
o0001
g99g97g40
m03s500
t0101
g00z2.0
x52.0
g73u17r16
g73p1q2u0.5w0.0f0.3
n1g01x34.498f0.1
z0.0
g03x37.183z-0.738r1
g02x29.472z-26.951r43
g03x21.821z-36.625r10.16
g02x16.0z-42.797r8
g01z-45.0
g02x24.z-51.928r8
g01x32.304z-54.325
g03x33.804z-55.624r1.5
g01z-57.124
n2x52.0
m00
m03s800
t0101
g00z2.0
x52.0
g70p1q2
g00x100.0
z100.0
m05
m30
酒杯内轮廓:
o0001
g99g97g40
m03s500
t0404
g00z2.0
x18.0
g71u1.0r0.5
g71p1q2u-0.5w0.0f0.3
n1g01x34.498f0.1
z0.0
g02x29.472z-1.744r3
g02x22.034z-24.182r43
g03x19.066z-27.090r3
n2g01x18.0
m00
m03s800
t0404
g00z2.0
x18.0
g70p1q2
z100.0
m05
m30
宇龙仿真效果演示:

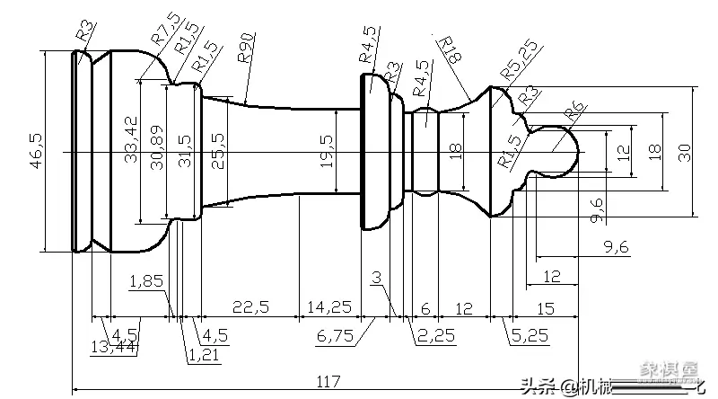
7、国际象棋

程序:
建议用caxa生成
实物展示

8、保龄球

程序
o0001
g99g97g40
t0101
m03s500
g00z2.0
x38.0
g01x0.0f0.1
z0.0
2=9
4=7.8
n3 2*sqrt
g01 x
3-0.1
if goto3
g03x12.77z-27.06r35.01f0.3
g02x17.51z-49.67r24.51f0.3
g03x20.13z-94.71r52.95f0.3
g03x16.13z-96.71r2f0.3
g00x100.0
z100.0
m05
m30
仿真效果演示

9、花瓶

程序
o0001
t0101
m03 s650;
g00z2.0;
x38;
g73 u12 r10;
g73 p1 q2 u1.0 w0.0f0.2;
n1g01x8.85f0.1;
z0.0;
g03 x12.36 z-1.69 r1.75f0.3;
g03 x11.17 z-6.15 r17.02f0.3;
g02 x12.77 z-32.73 r45.66f0.3;
g02 x22.39 z-39.24 r13.25f0.3;
g03 x30.1 z-56.56 r13.39f0.3;
g03 x18.24 z-61.73 r11.34f0.3;
g01 x19.03 z-62.52f0.1;
x22.5;
g03x23.0z-64.0r1.07;
g01w-5.0
n2g01x40.0f0.1
g70 p1 q2;
g00x100.0;
z100.0;
m05;
m30;
仿真效果演示

【温馨提示】如果文章内容有帮助到您,别忘动动小手指分享给好友哦!
相关文章
-
中国象棋含金量最高的比赛(谁是中国象棋界含金量最高的比赛得主)
最近许多棋友都在讨论,中国象棋有哪些比赛项目奖金较高?有棋友说应该是全国象棋个人赛;有棋友说应该是世界象棋锦标赛;也有的棋友说是亚洲象棋锦标赛......总之各种答案层出不穷!为了解除棋友们心中疑惑,我特地做了相关查阅对比,得出近年来八大象棋高奖金赛事,这些比赛应该就是目前奖金最高的项目。1、楚河汉界世界棋王赛 冠军奖金100万
2023-10-22 阅读 (783) -
象棋黑棋先走还是红旗先走(黑棋先发制人,红棋如何反击)
为什么中国象棋比赛红棋先走?---请您猜一脑筋急转弯中国象棋相信大家都认识,男孩子大多玩过,女孩子大多看过别人玩。中国象棋是一种智力游戏,挺有趣的,建议大家都教孩子玩玩。嗯,玩网络游戏,打打杀杀的很不好,还对眼睛不好,下象棋多好呀,既可以游戏,又可以增进父子感情,还能让自己的孩子更聪明,更文雅。那为什么中国象棋比赛红棋先走?
2023-10-22 阅读 (648) -
越南象棋大师有几个(揭秘越南象棋大师的神秘世界,他们究竟有何过人之处)
作为海外象棋第一高手,王天一杭州队的前队友,越南首席棋王,国际特大赖理兄领衔一众越南高手厮杀棋软大赛。赖理兄的攻杀能力十分出众,曾经击败过多位中国全国冠军、特级大师、象棋大师。包括东北虎赵国荣,上海双侠孙勇征、谢靖等,都败于他手下。赖理兄此次软件大战一上来,就碰到了难惹的主,乃是拥有112核至强软件的至尊四哥,夺得过软件大赛的亚军。
2023-10-22 阅读 (480) -
能摆残棋的象棋软件(如何用智能象棋软件破解残局难题)
信息化高速发展的今天,很多培训机构都置办了管理系统来进行信息化管理,排课软件也是系统的功能之一。但棋类培训比较小众,开班棋类培训的校长们大多出于情怀和兴趣,因此,大部分棋类机构都还停留在原始的运营模式,比如采用传统的excel表格进行排课。开过棋类机构的人都知道,棋类培训远远不是学生来了,一对一下棋这么简单,要学的课程其实很多很多。
2023-10-22 阅读 (371) -
楚河汉界游玩攻略(楚河汉界游玩攻略,如何跨越千年历史,重温楚汉争霸)
周末带家人去荥阳楚河汉界景区转转,这么近的风景区一直没来过,看看2000多年前的古战场。 楚河汉界古战场旅游区(汉霸二王城)位于广武山上,南靠崇山峻岭,北濒滔滔黄河,东为黄淮平原,西有虎牢关锁峙,进可攻退可守,为历代得天下者所必争,是我国著名的古战场之一。公元前206---203年,楚汉之争的主战场就在这里。
2023-10-22 阅读 (261) -
象棋发展现状分析(探寻现代象棋的普及与挑战,如何让国粹重焕光彩)
2022年中国象棋产销现状及价格走势 [图]一、概述象棋,亦作“象碁”,传统棋类益智游戏,有着悠久的历史,属于二人对抗性游戏的一种,由于用具简单,趣味性强,已成为流行极为广泛的棋艺活动。材料的外在表现是人对材料的生理和心理活动,是人们通过感觉对材料做出的综合印象。传统的中国象棋的材料有石、木、骨、竹、象牙、玉制品和陶瓷等。
2023-10-22 阅读 (154) -
许晨阳获顶级数学大奖(许晨阳荣获全球顶级数学大奖——费马奖,他是如何做到的)
10月17日,澎湃新闻(www.thepaper.cn)获悉,科学领域内单项奖金最高的“突破奖”(breakthrough prizes)揭晓了7个价值300万美元的奖项,华裔科学家庄小威和陈志坚摘得其中两个生物领域的大奖。此外,青年代数几何学家许晨阳获颁“突破奖”下设的子奖项“数学新视野奖”(new horizons)。
2023-10-22 阅读 (150) -
棋类游戏的三要素是指(探寻棋盘上的智慧奥秘,你了解多少)
彭翔华唱汉味童谣,讲武汉文化(030)提起下棋,多数人会想起围棋、中国象棋、国际象棋等规打规矩的棋,而我则常常回忆起小时候喜欢玩过的一些不那么正规,且非常简陋,难登大雅之堂的民间游戏棋。所谓民间游戏棋,是指流传于民间,源头大多不可考证的一些棋类,它不是生产部门的专门制品,而是游戏者自绘棋盘,自制棋子的产物。
2023-10-21 阅读 (143) -
梦百合杯中国棋手包揽八强(梦百合杯中国棋手再创辉煌,八强席卷全球谁能敌)
8月6日下午,第五届“梦百合”杯世界围棋公开赛本赛16强赛在郑州战罢,中国棋手在三盘外战中全部获胜,包揽本次比赛八强。中国棋手包揽八强16强赛焦点来自中韩两国选手对决,被棋迷誉为“轩工智能”的李轩豪九段延续良好状态,韩国围棋第一人“申工智能”申真谞九段尽管势头强劲,但最终中盘认负。中国世界冠军党毅飞九段的对手朴键昊七段近期在多个世界大赛的状态与成绩都不错,但党毅飞一直耐心与朴键昊周旋,弈至216手朴键昊七段认负。
2023-10-22 阅读 (141) -
象棋5-1是什么水平(棋艺精湛,5-1等级的象棋高手究竟有多厉害)
没有老师教,自己一个人琢磨象棋其实很难的,升级的路很坎坷,今天与棋友们分享我学棋的经历。有朋友在我的文章中留言说我5年时间能达到业余9级进步还是蛮快的,我却从来没有觉得自己进步快,反倒觉得太慢了。其实业余9级算不上什么高手,只是一个普通爱好者的水平罢了,需要学习的东西还有很多,再进步还需要磨练。刚学棋是最难的时候,什么规则啦,运子方法啦,一窍不通。
2023-10-22 阅读 (125)
